產品分類一覽
氣力輸送-10分鐘了解氣力輸送所有知識

 

 

什么是?
 

 

氣力輸送又被稱為,是利用空氣的能量來進行粉粒狀連續輸送的輸運技術。在電力、化工、食品處理、鋼鐵、冶金、機械制造、醫藥等行業具有廣泛的應用。

 

氣力輸送方式
 

 

按照每單位體積的氣體載體中所攜帶的粉體的質量多少可分為:和,而濃相氣力輸送又分為濃相動壓氣力輸送濃相靜壓栓流氣力輸送。

 

按輸送方式可分為:吸式、壓送式和混合式。

 

稀相氣力輸送與濃相氣力輸送的對比
 

 

稀相氣力輸送與濃相氣力輸送的對比

 

與裝置類型
 

 

氣力輸送粉狀物料的系統形式大致分為吸送式、壓送式或者兩種方式相結合三種。

 

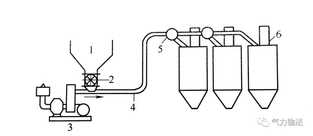
吸送式氣力輸送系統
 

 

吸送式氣力輸送系統

吸送式氣力輸送系統

1-消聲器;2-引風機;3-料倉;4-除塵器;5-卸料閘閥;6-轉向閥;7-加料倉;8-加料閥;9-鐵路漏斗車;10-船艙

 

特點:

系統較簡單,無粉塵飛揚,可同時多點取料,工作壓力較低(小于0.1MPa),但輸送距離較短,氣固分離器密封要求嚴格。

 

壓送式氣力輸送系統
 

壓送式氣力輸送系統

壓送式氣力輸送系統

1-料倉;2-供料器;3鼓風機;4-輸送管;5-轉向閥;6-除塵器

 

特點:

工作壓力大(0.1~0.7MPa),輸送距離長,對分離器的密填充要求稍低,但易混入油水等雜物,系統較復雜。

 

壓送式分為低壓輸送和高壓輸送兩種,前者工作壓力一般小于0.1Mpa,供料設備有空氣輸送斜槽、氣力提升泵及低壓噴射泵等;后者工作壓力為0.1~0.7Mpa,供料設備有倉式泵、螺旋泵及噴射泵等。

 

吸送、壓送相結合的氣力輸送系統
 

吸送、壓送相結合的氣力輸送系統

吸送、壓送相結合的氣力輸送系統

1-除塵器;2-氣固分離器;3-加料機;4-鼓風機;5-加料斗

 

氣力輸送的優缺點對比:

 

優點:

  • 直接輸送散裝物料,不需要包裝,作業效率高。

  • 設備簡單,占地面積小,維修費用低。

  • 可實現自動化遙控,管理費用低。

  • 輸送管路布置靈活,使工廠設備配置合理化。

  • 輸送過程中能物料不易受潮、污損和混入雜物,同時也可減少揚塵,改善環境衛生。

  • 輸送過程中能同時進行對物料的混合、分級、干燥、加熱、冷卻和分離的過程。

  • 可方便地實現集中、分散、大高度(可達90m)、長距離(可達2000m)、以及適應各種地形的。

 

缺點:

  • 動力消耗大,短距離輸送時尤其顯著。

  • 需配備壓縮空氣系統。

  • 不適宜輸送粘著性強和粒度大于30mm的物料。

 

 
 

 

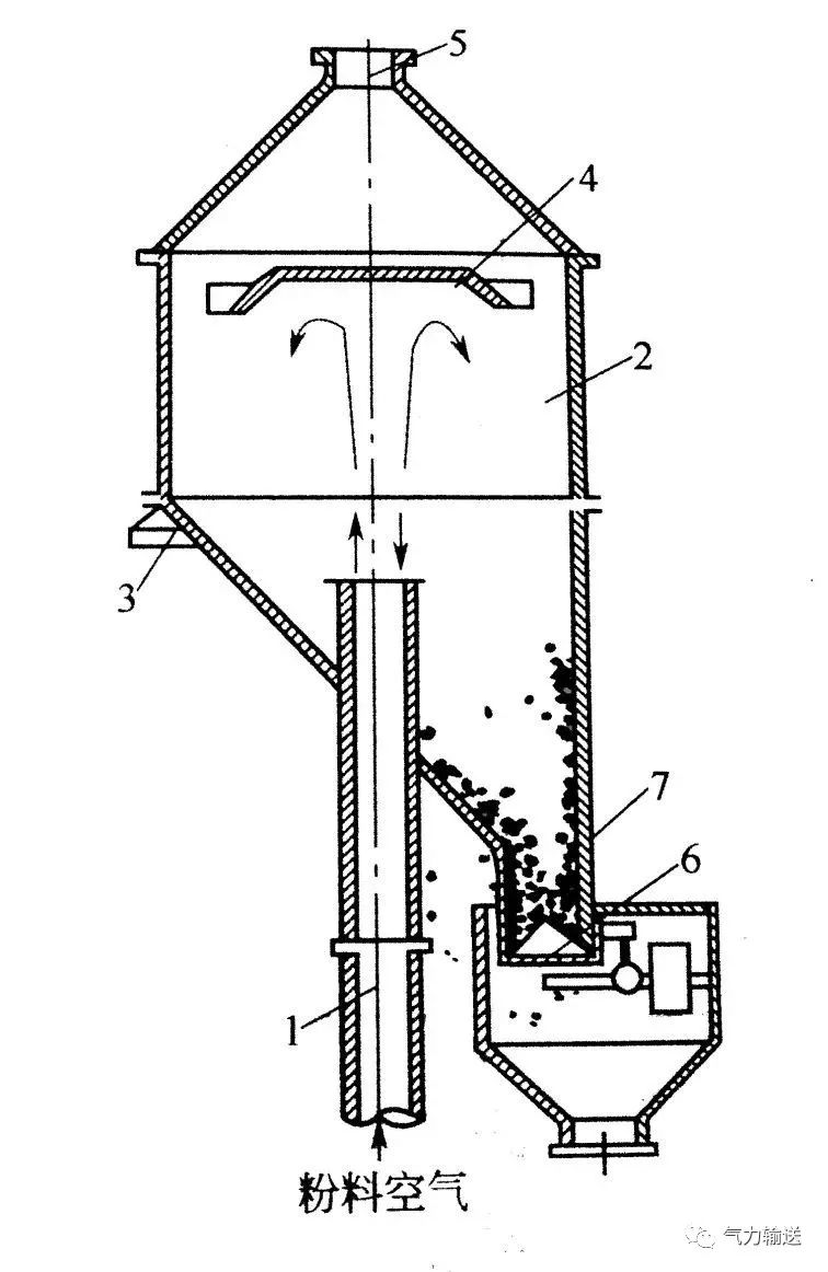
空氣輸送斜槽

 

空氣輸送斜槽屬濃相流態化輸送設備。它由薄鋼板制成的上、下兩個槽形殼體組成,兩殼體間夾有透氣層,整個斜槽按一定角度布置。

 

物料由加料設備加入上殼體,空氣由鼓風機鼓入下殼體透過透氣層使物料流態化。充氣后的物料沿斜度向前流動達到輸送的目的。

 

空氣輸送斜槽

空氣輸送斜槽示意圖

 

斜槽的優點:

  • 設備本身無運動部件,所以磨損的幾率也大大的減小,耐用,設備簡單,易維護檢修;

  • 投資較少,運轉中無噪聲,動力消耗少,操作安全可靠;易于改變輸送方向,適用于多點給料和多點卸料。

 

缺點:

  • 適用于小顆?;蛘叻蹱罘丘そY性物料,若物料中的粗顆粒較多時,輸送過程中會積累在槽中,累計到一定量時,需要人工排渣之后才能運行;

  • 須保證具有準確的向下傾斜度布置,因而距離較長時落差較大,導致土建困難。

 

螺旋式氣力輸送泵

 

螺旋式氣力輸送泵

螺旋式氣力輸送泵示意圖

1-軸承;2-襯套;3-主軸;4-防灰盤;5-加料管口;6-密封填料函;7-喂料平閘板;8-螺旋壓片;9-料塞厚度調節桿;10-卸料孔口;11-重錘閘板軸;12-重錘閘板;13-檢修孔蓋;14-重錘杠桿;15-泵出口

 

優點:設備質量較輕,占據空間較小,也可裝成移動式使用。

 

缺點:輸送磨蝕性較強的物料時螺旋葉片磨損較快,動力消耗大(包括壓縮空氣和螺旋泵本身的動力消耗),由于泵內氣體密封困難,不宜作高壓長距離輸送(一般不超過700m)

 

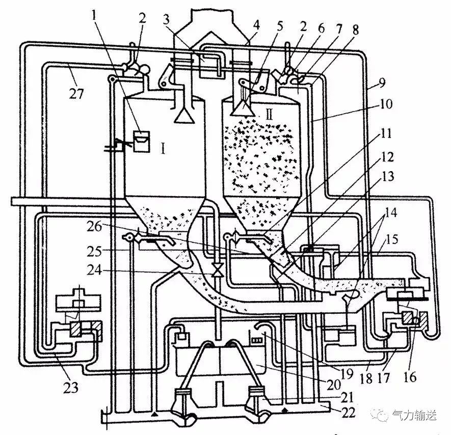
倉式氣力輸送泵

 

 倉式氣力輸送泵

雙倉式氣力輸送泵示意圖

1-指示器;2-氣閥;3-汽缸;4-進料管;5-進料閥;6,9,15-壓縮空氣管;7-過濾器;8-節流閥;10,11,13-充氣管;12-噴嘴;14,24,25,26-閥門;16-電磁閥;17,18,23,27-空氣管道;19-止逆閥;20-阻滯器;21-減壓閥;22-壓縮空氣總管道;Ⅰ、Ⅱ——料倉

 

優點:無運動部件,運轉率高,維護檢修工作量較小,與螺旋泵相比電耗較低,輸送距離長(可達2000m),輸送中還兼有計量作用。

 

缺點:形體高大,占據空間較大,不利于工藝布置及建筑設計。

 

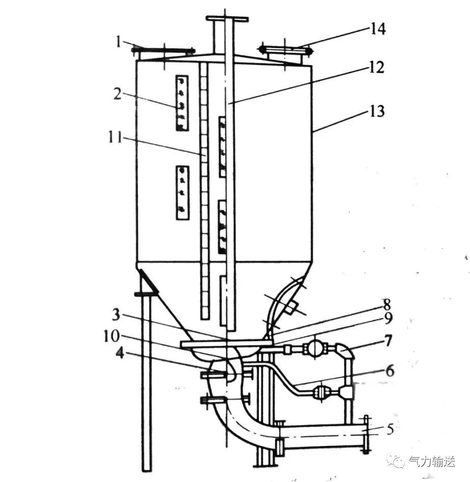
氣力提升泵

 

氣力提升泵是一種低壓吹送的垂直氣力提升輸送設備。按結構可分為立式和臥式兩種,兩者的主要區別在于噴嘴的布置方向不同。噴嘴垂直布置的為立式,水平布置的為臥式。

 

立式氣力提升泵

 

立式氣力提升泵

立式氣力提升泵的構造

1-進料口;2-觀察窗;3-噴嘴;4-止逆閥;5-進風管;6-清洗風管;7-充氣管;8-充氣板;9-充氣室;10-氣室;11-料面標尺;12-輸料管;13-泵體;14-排氣孔

 

立式氣力提升泵的構造

膨脹倉的構造

1-輸料管;2-膨脹倉倉體;3-支座;4-反擊板;5-排氣管;6-閃動閥;7-粉料

 

臥式氣力提升泵

 

臥式氣力提升泵的結構較立式簡單,外形高度也較低,輸料管出泵后先經一段水平距離然后經過彎管導向垂直提升管。

 

臥式氣力提升泵

臥式氣力提升泵

 

優點:結構簡單,質量輕,無運動部件,磨損小,操作可靠,維修方便,提升高度大于30m時比斗式提升機經濟。

 

缺點:電耗較大,體形較高大。有時會給工藝布置和建筑設計帶來一定困難。